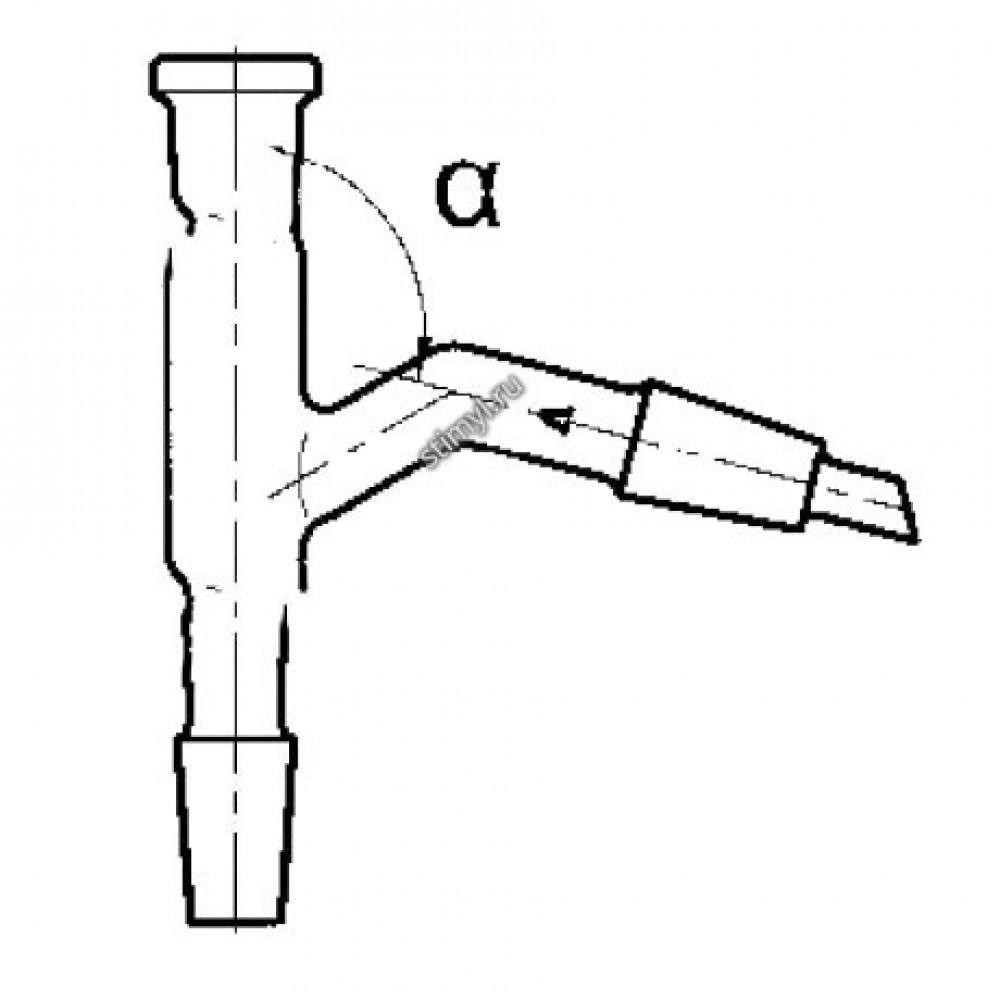
Насадка Н1
Насадка Н1 с одной горловиной применяется в качестве соединительного элемента для сборки приборов, аппаратов и установок. Изготавливается из стекла Симакс ЧСН ИСО 3585.
| Шифр | Шлиф КШ по ГОСТ 8682-93 | α град. | ||
| керна | муфты | керна отвода | ||
| 1090 | 14/23 | 14/23 | 14/23 | 105 |
| 1091 | 29/32 | 14/23 | 14/23 | 105 |
| 2935 | 29/32 | 14/23 | 14/23 | 120 |
Документы
Документы на товар доступны только клиентам. Свяжитесь с нами и мы вышлем на ваш e-mail:
- сертификаты
- паспорта
- инструкции
- ГОСТ и ТУ
Цена и наличие
Цену и наличие уточняйте у наших специалистов. Описание и фото товара носят информационный характер и могут отличаться от описания, представленного в технической документации производителя. Обращаем ваше внимание на то, что данный интернет-сайт носит исключительно информационный характер и ни при каких условиях не является публичной офертой, определяемой положениями Статьи 437 Гражданского кодекса Российской Федерации. Рекомендуем перед покупкой проверять характеристики товара у наших менеджеров.
